Darmowa dostawa od 140 PLN

Krzesło welurowe SEVILLA VELVET czarne

Symbol: 5902340322024

Dostępność: Średnia dostępność

Cena: 241.79

szt.
Zamówienie telefoniczne: 537463403

Dostępność i dostawa

Wysyłka w ciągu: 24 godziny
Cena przesyłki:
0
  • Kurier (Pobranie) 0
  • Odbiór osobisty 0
  • Paczkomaty InPost 12
  • Poczta Polska 15
  • Poczta Polska (Pobranie) 20
  • Kurier 35
Krzesło tapicerowane aksamitne
Model: SEVILLA VELVET | Kolor: czarne
⭐ Tapicerowane, welurowe obicie
⭐ Geometryczne pikowane przeszycia
⭐ Metalowe nogi z ochronnymi podkładkami
⭐ Dopuszczalna waga 120 kg
⭐️ Zakup bezpośrednio od producenta
Tapicerowane i pikowane krzesło z przeszyciami. Ciekawy i wyrazisty wzór, który idealne wkomponuje się do wnętrz w stylistyce skandynawskiej lub vintage, nadając nieco ciepłego wyrazu. Siedzisko jest wyprofilowane i zapewnia komfortowe oparcie dla pleców. Metalowe nogi krzesła zapewniają stabilne podparcie na każdej powierzchni. Kupując u nas, kupujesz od bezpośredniego producenta!
Cechy produktu
Ciekawy skandynawski design
Krzesło tapicerowane
Miękka tkanina z przeszyciami
Miękkie wypełnienie
Wytrzymała tkanina obiciowa
Solidny stelaż
Idealne spasowanie elementów
Wysoki komfort i wygoda siedzenia
Przeznaczone do salonu, kuchni lub jadalni
Materiał obicia: tkanina welurowa
Nogi metalowe w czarnym kolorze
Zdejmowana poduszka, mocowana na rzepy
 
Wymiary produktu
Wysokość krzesła: 87 cm
Szerokość krzesła: 58 cm
Głębokość krzesła 55 cm
Rozstaw nóg: 48 x 46 cm
Wysokość do dolnej części siedziska: 42 cm
Wysokość do górnej części siedziska: 50 cm
Szerokość siedziska: 42 cm
Głębokość siedziska: 43 cm
Wysokość oparcia: 41 cm
Grubość nogi: 28 mm
 
 
 
 
 
Informacje dodatkowe
Przedstawione kolory należy traktować poglądowo - mogą odbiegać od rzeczywistych ze względu na różne ustawienia monitorów oraz proces obróbki zdjęć. Rzeczywiste wymiary mogą się różnić od podanych wyżej. Tolerancja błędów może wynosić +/- 5%.
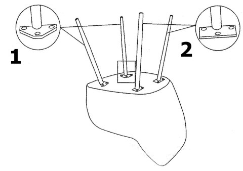
Na ostatnich grafikach zaprezentowano prawidłowy montaż nóg. Przednie nogi w krześle można dodatkowo wyregulować w zakresie poziomu.
 
Marka:
eHokery
Kod produktu:
322024MG
Kolor:
czarny
Wysokość:
87 cm
Szerokość:
58 cm
Materiał siedziska:
aksamitna tkanina
Materiał nóg:
metal
Przeznaczenie:
jadalnia | kuchnia | salon | biuro | restauracja | bar
Do samodzielnego montażu:
tak
 
Parametry:

Informacje dotyczące bezpieczeństwa

Produkt nie wymaga inf. dot. bezpieczeństwa

Dane producenta

GMM Group sp. z o.o. sp. k.
Ciele ul. Niedźwiedzia 11
86-005 Białe Błota
Poland

+48 790 608 904
sklep@gockowiak.pl

Nie ma jeszcze komentarzy ani ocen dla tego produktu.
Ocena produktu
Zadaj pytanie

Sklep zamknięty

Zapraszamy na Allegro:
https://allegro.pl/uzytkownik/ZakupowMistrz/sklep